CEMA變頻調速電機YP/YPEJ-50-0.75-2-4先馬電機YA-0.75










YP變頻系列2極型號:
YP-50-0.37-2 YP-50-0.55-2 YP-50-0.75-2 YP-50-1.1-2 YP-50-1.5-2 YP-50-2.2-2
YP-50-3-2 YP-50-4-2 YP-50-5.5-2 YP-50-7.5-2 YP-50-11-2 YP-50-15-2
YP-50-18:5-2 YP-50-22-2 YP-50-30-2 YP-50-37-2 YP-50-45-2
YP變頻系列4極型號
YP-50-0.18-4 YP-50-0.25-4 YP-50-0.37-4 YP-50-0.75-4 YP-50-1.5-4 YP-50-2.2-4
YP-50-3.0-4 YP-50-5.5-4 YP-50-7.5-4 YP-50-11-4 YP-50-15-4 YP-50-18.5-4
YP-50-22-4 YP-50-30-4 YP-50-37-4 YP-50-45-4 YP-50-75-4 YP-50-90-4
YP-50-110-4 YP-50-132-4 YP-50-160-4 YP-50-200-4 YP-50-250-4 YP-50-315-4
YP變頻系列6極型號
YP-50-0.18-6 YP-50-0.25-6 YP-50-0.37-6 YP-50-0.55-6 YP-50-0.75-6 YP-50-1.5-6
YP-50-2.2-6 YP-50-3.0-6 YP-50-5.5-6 YP-50-7.5-6 YP-50-11-6 YP-50-15-6
YP-50-18.5-6 YP-50-22-6 YP-50-30-6 YP-50-37-6 YP-50-45-6 YP-50-75-6
YP-50-90-6 YP-50-110-6 YP-50-132-6 YP-50-160-6 YP-50-200-6 YP-50-250-6
YP-50-315-6
YP變頻系列8極型號
YP-50-0.18-8 YP-50-0.25-8 YP-50-0.37-8 YP-50-0.55-8 YP-50-0.75-8
YP-50-1.5-8 YP-50-2.2-8 YP-50-3.0-8 YP-50-5.5-8 YP-50-7.5-8
YP-50-11-8 YP-50-15-8 YP-50-18.5-8 YP-50-22-8 YP-50-30-8
YP-50-37-8 YP-50-45-8 YP-50-75-8 YP-50-90-8 YP-50-110-8
YP-50-132-8 YP-50-160-8 YP-50-200-8 YP-50-250-8 YP-50-315-8
YPNC系列型號:
YPNC-50-4-A YPNC-50-5.5-A YPNC-50-7.5-A YPNC-50-11-A YPNC-33.3-4-A
YPNC-33.3-5.5-A YPNC-33.3-7.5-A YPNC-33.3-15-A YPNC-50-1.5-B
YPNC-50-2.2-B YPNC-50-3.7-B YPNC-50-5.5-B YPNC-50-11-B
YPNC-50-15-B YPNC-50-18.5-B YPNC-22-50-B YPNC-37-50-B
YPNC-50-45-B YPNC-33.3-1.5-B YPNC-33.3-2.2-B YPNC-33.3-3.7-B
YPNC-50-7.5-B YPNC-33.3-7.5-B YPNC-33.3-11-B YPNC-33.3-15-B
YPNC-50-15-A YPNC-33.3-5.5-B YPNC-18.5-B YPNC-33.3-22-B
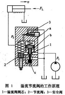
溢流節流閥工作原理及其與調速閥的區別

1.溢流節流閥工作原理
溢流節流閥和調速閥一樣,也能保證通過閥的流量基本上不受負載變化的影響。溢流節流閥是由壓差式溢流閥和節流閥并聯而成的。
圖1所示為溢流節流閥的工作原理。來自液壓泵壓力為p1的油液,進入閥后,一部分經節流閥2(壓力降為p2)進入執行元件(液壓缸),另一部分經溢流閥閥芯1的溢油口流回油箱。溢流閥閥芯上腔a和節流閥出口相通,壓力為p2;溢流閥閥芯大臺肩下面的油腔b、油腔c和節流閥入口的油液相通,壓力為p1。當負載FL增大時,出口壓力p2增大,因而溢流閥閥芯上腔a的壓力增大,閥芯下移,關小溢流口,使節流閥入口壓力p1增大,因而節流閥前后壓差 (p 1-p2)基本保持不變;反之亦然。
溢流節流閥上設有安全閥3。當出口壓力p2增大到等于安全閥的調整壓力時,安全閥打開,使p2(因而也使用p1)不再升高,防止系統過載。

2.溢流節流閥與調速閥的區別
溢流節流閥與調速閥都有壓力補償作用,使輸出的流量不隨負載而變化。液壓系統用溢流節流閥調速時,液壓泵的供油壓力是隨負載而變化的,負載小時供油壓力也低,因此功率損失較小;但是該閥通過的流量是液壓泵的全部流量,故閥芯的尺寸要取得大一些,又由于閥芯運動時的阻力也較大,因此它的彈簧一般比調速閥的減壓閥部分的彈簧剛度要太。這使得它的節流口前后的壓力差值不如調速閥穩定,所以流量穩定性不如調速閥。溢流節流閥適用于對速度穩定性要求稍低一些,而功率較大的節流調速系統中,如插床、拉床、刨床中應用較多。
液壓系統中使用調速閥調速時,系統的工作壓力由溢流閥根據系統工作壓力調定,基本保持恒定,即使負載較小時,液壓泵也按此壓力工作,因此功率損失較大;但該閥中的減壓閥所調定的壓力差值(△p)波動較小,流量穩定性好,因此適用于對速度穩定性要求較高,而功率又不太大的節流調速回路中。
另外,在使用中,大蘭液壓廠家提醒大家溢流節流閥只能安裝在節流調速回路的進油路上,而調速閥在節流調速回路的進油路、回油路和旁油路上都可應用。因此,調速閥比溢流節流閥應用廣泛。
本文由蘇州逐利機電整理發布,如需轉載請瀏覽來源及出處,原文地址:http://m.fjptba.com/dj/515.html






留言信息